Hubei Yongbang Engineering Technology Co., Ltd. Invention Patent
Microchannel Droplet Tubular Reactor
This microchannel droplet tubular reactor addresses key limitations in existing technologies: firstly, the inability to safely handle highly exothermic reactions, where rapid heat release can pose risks such as chemical explosion if not promptly removed; and secondly, the difficulty in achieving continuous, scalable production, leading to high manufacturing costs.
Its distinctive features include: a microchannel droplet device integrated at the inlet of each reaction tube; reaction tubes enclosed within shell-and-tube heat exchangers; and series connection of adjacent reaction tubes. Each shell-and-tube heat exchanger is equipped with dedicated coolant inlet/outlet pipes, enabling efficient counter-current heat exchange between the process fluid and the coolant. This design ensures rapid heat removal, maintaining process safety and enabling stable, continuous operation.
With advantages in safety, efficiency, and cost-effectiveness, this reactor is well-suited for applications in petrochemicals, fine chemicals, food processing, and biopharmaceutical manufacturing.

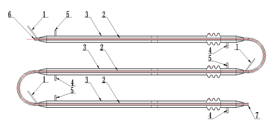
Swirl Flow Tubular Reactor
This swirl flow tubular reactor addresses limitations in existing technologies, such as uneven reactions, prolonged reaction times, lengthy piping, and low efficiency. It is characterized by swirl internals installed within the reaction tube (1), which consist of a fixed shaft (2) and angled swirl blades (3). The blades are mounted at specific angles along the shaft and integrated into the reaction tube, forming a helical flow path.
As reactants pass through the tube, the swirl components intensify rotational flow, enhancing fluid mixing, improving heat and mass transfer efficiency, and shortening reaction time. With advantages including low cost, high efficiency, and energy savings, the reactor is widely applicable in petrochemical, fine chemical, food, and biopharmaceutical industries.


Brief Description of Swirl Tubular Reactor
Patent No. 202510271513.2
The swirl tubular reactor addresses existing technical issues, including non-uniform reactions, prolonged reaction time, excessive pipeline length, and low efficiency.
Key Features:
A swirl insert is installed inside the reaction tube (1), consisting of a fixed shaft (2) and blade swirl elements (3).
The blade swirl elements (3) are fixed at a specific angle onto the fixed shaft (2).
The insert is threaded through the reaction tube (1), with the fixed shaft (2) integrated as one with the tube.
The swirl insert creates helical channels within the tube, intensifying swirl motion, enhancing fluid mixing, improving heat and mass transfer efficiency, and reducing reaction time.
Advantages:
Low cost, high efficiency, and energy-saving.
Widely applicable in industries such as petrochemicals, fine chemicals, food processing, and biopharmaceuticals.

